2. 广州市番禺区中心医院设备科,广东 广州 511486;
3. 佛山市第一人民医院总务科,广东 佛山 528000
2. Medical Equipment Department of Panyu District Central Hospital, Guangzhou City, Guangzhou 511486, Guangdong Province, China;
3. Support Services Department of Foshan First People's Hospital, Foshan 528000, Guangdong Province, China
呼吸机是一种人工的机械通气装置,通过辅助或控制患者的自主呼吸运动,改善患者肺内气体交换的能力,来降低人体消耗,恢复人体呼吸功能,其在现代医学中发挥着重要作用[1]。呼吸机的临床应用分为两大类,一类以治疗呼吸系统疾病为主,包括肺部感染、肺不胀、哮喘、肺水肿等影响肺内气体交换功能的疾病;第二类以外科手术应用为主,有利于病人麻醉恢复,维持正常的呼吸功能,减少呼吸肌运动,降低氧耗量[2]。呼吸机作为抢救病人和治疗的重要医疗器械,医疗机构必须保证其使用的安全性和可靠性。大多数使用呼吸机治疗的患者存在肺部感染,在机械通气治疗的过程中,病人呼出的废气一般带有病毒和细菌,部分患者呼出的气体还具有传染性[3]。虽然呼吸机的进气口和回气口都有过滤器,但过滤器只能除去大部分尘埃颗粒和部分细菌,仍有部分细菌与病毒会穿透过滤系统,残留在呼吸机内部管路中[4]。对于呼吸障碍的患者,一般需要长期使用呼吸机进行辅助通气治疗,长期使用后病菌有可能进入呼吸机的内部管道,并且在内部管道中生长繁殖[5]。呼吸机内部管路众多、结构复杂,对内部管路进行消毒灭菌比较困难,因此,传染性疾病患者使用过的呼吸机极易成为污染源。
现行医院感染防控规范要求,呼吸机在使用后所有与患者连接的管道必须拆除、清洗、消毒。常规消毒流程包括:一般管道需用清水冲洗,然后用一定浓度的消毒液浸泡30 min,冲洗干净后晾干即可[6];或者在消毒供应中心采用清洗机进行清洗和消毒。然而,这些方法不适合呼吸机内部管路的消毒[7]。基于呼吸机的工作原理,呼吸机内部气流是单向流动的,理论上内部管路不会受到感染。但是呼吸机在长期运行工作中,电磁阀启闭可能产生负压倒吸的现象,这会导致外部污染物逆向侵入内部管路系统。因此,设计一种高效的呼吸机内管路消毒装置,很有必要。本文基于射流技术产生过氧化氢干雾的原理,设计一款串联式干雾过氧化氢呼吸机内管路消毒装置,并对其临床消毒效果进行系统评估,具体研究内容报道如下。
1 材料与方法 1.1 材料选取心胸科、呼吸科、急诊科、重症监护病房(intensive care unit,ICU)等部门临床使用的40台呼吸机作为研究对象,纳入标准须符合以下2个要求:①所有呼吸机均用于具有明确传染病特征患者的机械通气治疗;②单机连续使用时间≥72 h。在呼吸机脱机后(消毒前)对进气口、出气口、内管道进行细菌监测,并使用串联式干雾过氧化氢呼吸机内管路消毒装置进行呼吸机内部管道消毒,分别持续消毒1 h、4 h后即停止呼吸机和干雾过氧化氢发生器的工作,进行取样,并检测呼吸机进气口、出气口、内管道中的菌落总数、致病性微生物。对以上样本依次进行分组,其中消毒1 h的样本组设置为1组、消毒4 h的样本组设置为2组。
1.2 方法1组和2组的呼吸机为使用呼吸机内管路消毒装置进行串联式干雾过氧化氢消毒处理,该消毒装置的原理与设计、使用方法如下。
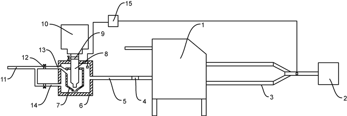
1.2.1 原理与设计本文设计的消毒装置由制作干雾过氧化氢发生器构成,利用矢量喷头(射流)技术,通过破碎蠕动过氧化氢消毒液,产生粒径小于10 μm的过氧化氢干雾,均匀扩散到呼吸机管道内部的密闭空间中,无死角扩散至管路每个角落以高效灭菌,达到对管路空间中空气、管路表面消毒的效果。本装置具有更加安全高效的消毒灭菌性能,且操作方便,消毒时间短,无残留,成本低。原理示意图如下图 1所示。
|
| 1.呼吸机;2.模拟肺;3.病人回路管道;4.快速接头;5.输出管道;6.外壳;7.内壳;8.矢量喷头;9.第一控制阀;10.储液罐;11.供氧管道;12.第二控制阀;13.第一连通管;14.第二连通管;15.过氧化氢浓度检测仪。 1. Ventilator; 2. Test lung; 3. Patient circuit tubing; 4. Quick connector; 5. Output tubing; 6. Outer casing; 7. Inner casing; 8. Vector nozzle; 9. First control valve; 10. Liquid storage tank; 11. Oxygen supply tube; 12. Second control valve; 13. First connecting tube; 14. Second connecting tube; 15. Hydrogen peroxide concentration detector. 图 1 串联式干雾过氧化氢呼吸机内管道消毒装置示意图 Fig. 1 Schematic diagram of series dry fog hydrogen peroxide disinfection device for respiratory machine internal pipelines |
将采样病人使用后的呼吸机置于约2 m3的密闭空间,连接串联式干雾过氧化氢呼吸机管路内部的消毒装置,并将呼吸机设置在正常启动运行状态,同时启动干雾过氧化氢发生器,让密闭空间扩散充满干雾过氧化氢消毒灭菌剂,呼吸机吸进干雾消毒剂,使呼吸机内部管道、减压阀、电磁阀、涡轮机(鼓风机)、传感器、空气过滤器等部件充满消毒气体。
1.3 观察指标 1.3.1 采样方法参考文献[8]的方法,使用浸有无菌生理盐水采样液的棉拭子涂抹呼吸机内部结构管道的进气口、出气口、内管道,采样面积≥100 cm2,然后剪去手接触的部分,将棉拭子放入装有10 mL采样液的试管中送检。
1.3.2 检测方法遵循《医院消毒卫生标准》(GB 15982-2012)的规定[8],把采样管充分振荡后,取不同稀释倍数的洗脱液1.0 mL接种于平皿,将冷却至40~45 ℃的熔化营养琼脂培养基每皿倾注15~20 mL,于36±1 ℃恒温箱培养48 h后计数菌落数,并分离致病性微生物,通过选择性培养、生化鉴定及分子生物学验证综合判断致病性微生物检验结果。
1.3.3 参考评价标准根据《医院消毒卫生标准》(GB 15982-2012)中规定的关于中度危险性医疗器械的要求[8],将检测菌落总数应≤ 20 CFU/件(CFU/g或CFU/100 cm2)且不得检出致病性微生物作为合格标准。
1.3.4 统计学方法应用SPSS 21.0软件进行数据的统计分析。计量资料不符合正态分布,两组相关比较采用非参数Wilcoxon符号轶检验,多组相关比较采用非参数friedman检验;计数资料采用c2检验。p<0.05,代表差异有统计学意义。
2 结果 2.1 常规清洗的医院呼吸机细菌学检测与致病性微生物检验结果分别在呼吸机管道手工清洗前及按照医院消毒供应中心规定的程序手工清洗消毒(初洗、酶洗、漂洗,然后放入复合过氧乙酸的密闭容器中浸泡消毒作用10 min,然后用纯化水终末漂洗,最后吹干放入干燥柜烘干架垂直悬挂90 ℃烘干10 min)后,在呼吸机的进气口、出气口、内管道进行采样,以进行细菌学检测与致病性微生物的检验,具体结果如表 1所示。
| 采集部位 | 手工清洗前(n=40) | 手工清洗后(n=40) | |||||
| 平均菌数(CFU/件) | 致病性微生物 | 合格率(%) | 平均菌数(CFU/件) | 致病性微生物 | 合格率(%) | ||
| 进气口 | 138(126, 170) | 阳性 | 0.0 | 13(13, 15)** | 阴性 | 100.0 | |
| 出气口 | 140(123, 173) | 阳性 | 0.0 | 14(13, 15)** | 阴性 | 100.0 | |
| 内管道 | 152(138, 190) | 阳性 | 0.0 | 149(134, 185)** | 阳性 | 0.0 | |
| 注:与消毒前比较,**P<0.01。 | |||||||
结果显示,常规清洗前各采集部位细菌学检测的合格率均为0%,且致病性微生物的检验结果为阳性(发现有致病菌生长),常规清洗消毒后呼吸机的进气口、出气口细菌学检测合格率为100%,且致病性微生物的检验结果为阴性(无致病菌生长),但内管道的细菌学检测合格率为0%,且致病性微生物的检验结果为阳性。常规清洗消毒前后,呼吸机的进气口与出气口细菌学检测合格率的差异具有显著性(p<0.05);但内管道的细菌学检测合格率差异无统计学意义(p>0.05),且常规清洗消毒前后致病性微生物的检验结果均为阳性,这说明常规清洗呼吸管道的手段,无法对呼吸机内部管道进行有效消毒。
2.2 呼吸机内部管路消毒设备的效果验证试验数据显示(见表 1),在未使用消毒装置消毒前,40台呼吸机进气口、出气口和内管道的菌落总数分别为138(126, 169) CFU/件、140(124, 174) CFU/件和152 (138, 187) CFU/件,数据表明,呼吸机进气口中间50%的样本菌落数分布在126~169 CFU/件,呼吸机出气口中间50%的样本菌落数分布在124~174 CFU/件,呼吸机内管道中间50%的样本菌落数分布在138~187 CFU/件,所有样本中的菌落数量均超过合格标准,均不及格,且呼吸机中检出了金黄色葡萄球菌、铜绿假单胞菌等致病微生物。
2.2.1 多组呼吸机进气口、出气口和内管道的菌落数量、致病性微生物的检验结果比较使用串联式干雾过氧化氢呼吸机内管路消毒装置对呼吸机内部管道进行消毒后,3组呼吸机各部位的菌落数量中位数如表 2所示,差异具有统计学意义(p<0.001),后续多重比较结果表明,1组的呼吸机各部位的菌落数量显著低于消毒前(p<0.05),采用内管路消毒装置前致病性微生物的检验结果为阳性,采用内管路消毒装置后致病性微生物的检验结果为阴性,可以说明本研究设计的串联式干雾过氧化氢呼吸机内管道消毒装置具有明确的消毒功效,能对呼吸机各部位致病菌起到良好的杀灭效果。而2组与1组的呼吸机进气口、内管道菌落数量比较,差异不具有统计学意义(p>0.05);出气口比较,具有显著性差异(p<0.05);整体上,可以认为2组与1组无统计学差异,4 h的消毒并不能使各部位的细菌菌落数进一步下降。
| 采集部位 | 消毒前检查结果 | 1组检查结果 | 2组检查结果 | |||||
| 平均菌数(CFU/件) | 致病性微生物 | 平均菌数(CFU/件) | 致病性微生物 | 平均菌数(CFU/件) | 致病性微生物 | |||
| 进气口 | 138(126, 169) | 阳性 | 13(12, 14)** | 阴性 | 12(11, 13)** | 阴性 | ||
| 出气口 | 140(124, 174) | 阳性 | 13(12, 15)** | 阴性 | 12(11, 14)** | 阴性 | ||
| 内管道 | 152(138, 187) | 阳性 | 13(11, 15)** | 阴性 | 12(11, 14)** | 阴性 | ||
| 注:与消毒前比较,**P<0.01。 | ||||||||
结果显示,采用干雾过氧化氢消毒1 h与4 h两组之间各采集部位细菌学检测合格率比较差异均不显著(p>0.05),且致病性微生物的检验结果均为阴性。综合多组呼吸机进气口、出气口和内管道的菌落数量比较结果,可以认为两组消毒效果无差异,使用干雾过氧化氢消毒装置对呼吸机管道消毒1小时,便可达到预期消毒效果,延长消毒时间并不能获得更好的消毒效果。具体结果如表 3所示。
| 组别 | 进气口 | 出气口 | 内管道 | |||||
| 细菌学检测合格率(%) | 致病性微生物 | 细菌学检测合格率(%) | 致病性微生物 | 细菌学检测合格率(%) | 致病性微生物 | |||
| 1组(n=40) | 100.0 | 阴性 | 100.0 | 阴性 | 100.0 | 阴性 | ||
| 2组(n=40) | 100.0 | 阴性 | 100.0 | 阴性 | 100.0 | 阴性 | ||
由于多数使用呼吸机进行机械通气治疗的患者均存在肺部感染,而在机械通气治疗的过程中,患者呼出的气体一般都携带病原微生物(包括细菌和病毒),部分患者的呼出气体是有传染性的。虽然,呼吸机进气口和回气口都有空气或病毒过滤器,但是过滤器只能过滤大部分尘埃颗粒和部分病菌,而大部分呼吸障碍的患者需要长期使用呼吸机进行辅助通气治疗,长期使用过程中病菌有可能进入机器内部管道,并且在机器内部管道滋生。呼吸机内部管路多且结构复杂,导致对内部管路进行消毒灭菌比较困难,因此,传染性患者使用过的呼吸机极易成为污染源。如果用过的呼吸机没有进行彻底的消毒灭菌,就给下一个患者使用,发生院内交叉感染的概率就非常大[9-12]。目前,院感要求呼吸机用毕,所有与患者连接的管道都要拆下清洗消毒。一般管道用清水冲洗,然后用一定浓度的消毒液浸泡30 min,冲洗干净后晾干即可[1],或者在消毒供应中心利用清洗机进行清洗和消毒,但这种方法不适合呼吸机内部管路的消毒。大多数呼吸机已使用多年,而内部管路几乎都未进行过彻底的消毒灭菌,可见受污染情况堪忧[13-14]。特别是传染性病人使用过的呼吸机,只更换或消毒清洁外部呼吸管路是不能切断传染源的,因此,呼吸机内部结构管路就会积存大量的病原菌和病毒[15]。
本研究结果表明,常规清洗消毒的方法可以有效清除进气口、出气口的病原微生物,也可以对病人呼吸回路进行消毒,但对设备内部管路未能有效消毒,因此,目前医院所使用的常规消毒方法仍存在一定的缺陷。本研究制作的干雾过氧化氢发生器,利用矢量喷头(射流)技术,通过破碎蠕动过氧化氢消毒液,产生粒径小于10 μm的过氧化氢干雾,均匀扩散到呼吸机内管道密闭空间中,可以达到对管路空间中空气、管路表面消毒的作用,且利用该装置对呼吸机的进气口、出气口、内管道消毒1 h即可达到预期消毒效果,合格率为100%。然而,此干雾过氧化氢发生器装置也存在一定的缺陷,本研究使用浓度为8%~12%的过氧化氢,有一定的氧化腐蚀作用,可能对呼吸机元器件会产生一定的损害,未来如何在保证消毒灭菌效果的条件下,找出过氧化氢的合理工作浓度,将其对呼吸机元器件的损害降到最低,这值得进一步研究。
| [1] |
叶兰. 高流量湿化治疗仪联合气道护理在机械通气患者中的应用[J]. 医疗装备, 2023, 36(19): 153-156. |
| [2] |
杨标. 德尔格VN500呼吸机常见故障维修与维护保养[J]. 中国医疗器械信息, 2024, 30(17): 173-176. |
| [3] |
丁娟, 陈晓丽, 肖月, 陈琳, 徐迎婷, 廖常菊, 宋航, 张小燕, 余红. 成人机械通气患者雾化吸入护理的最佳证据总结[J]. 中华护理杂志, 2024, 59(12): 1512-1519. |
| [4] |
陈芝, 张秋军. 品管圈在提升共享呼吸机过滤器应用效果中的研究[J]. 中国医疗设备, 2024, 39(5): 87-91. |
| [5] |
牛航舵. 便携式呼吸机系统的研发[D]. 深圳: 深圳大学, 2022.
|
| [6] |
胡叶双, 沈正华, 朱英, 鲍磊. 不同处理流程对呼吸机管道及附件清洗消毒的效果分析[J]. 医学研究与战创伤救治, 2024, 37(4): 388-391. |
| [7] |
葛慧青, 代冰, 徐培峰, 段开亮, 夏金根, 段均, 张伟, 倪忠, 王胜昱, 陆蓉莉, 陈荣昌, 罗凤鸣, 梁宗安. 新型冠状病毒肺炎患者呼吸机使用感控管理专家共识[J]. 中国呼吸与危重监护杂志, 2020, 19(2): 116-119. |
| [8] |
国家质量监督检验检疫总局, 中国国家标准化管理委员会. 医院消毒卫生标准: GB 15982-2012[S]. 北京: 中国标准出版社, 2012.
|
| [9] |
张晓霞, 路璐, 李启东, 王伟科, 李临平. 2023年山西省二级及以上医疗机构呼吸机管路消毒现况问卷调查[J]. 中华医院感染学杂志, 2024, 34(18): 2843-2847. |
| [10] |
张磊, 殷俊, 李家斌, 杨丽娜, 徐明星, 张李. 神经内科老年患者呼吸机相关肺炎调查及危险因素分析[J]. 热带医学杂志, 2024, 24(6): 855-858. |
| [11] |
沈蕾, 柴玲, 孙美艳, 董宁, 张思婷, 廖新威, 郭成桦, 孙文秀, 张林. 成人急性呼吸道传染病患者俯卧位通气管理的最佳证据总结[J]. 中国卫生质量管理, 2024, 31(6): 37-43. |
| [12] |
彭杨耀, 秦淑, 胡芬, 黄晶晶, 胡抗抗, 陈沁, 黄杨曦, 李晨, 胡琴. 成人机械通气患者雾化吸入管理的最佳证据总结[J]. 护理学杂志, 2024, 39(11): 55-59. |
| [13] |
胡倩倩, 乔甫, 徐强. 集束化干预措施对综合ICU医院感染发生率的影响[J]. 中华医院感染学杂志, 2024, 34(18): 2812-2816. |
| [14] |
彭寒玲, 张志勤, 苏春妹. 儿童重症监护病房疑似暴发鲍氏不动杆菌感染的调查及干预[J]. 中华急危重症护理杂志, 2023, 4(2): 163-166. |
| [15] |
王伟钟, 章攀, 刘伟董, 唐彬彬, 李顺发. 集束化消毒干预措施降低呼吸机相关肺炎发病率的研究[J]. 中国消毒学杂志, 2022, 39(7): 491-493. |
2025, Vol. 20


